Qingdao Ruichen Sealing Technology Co., Ltd.
Qingdao Ruichen Sealing Technology Co., Ltd.
Produse
X

Inel ștergător

Sigiliu de praf combinat cu două buze lansat de Ruichen Seal (un producător și furnizor binecunoscut de etanșare a tijei pistonului din China) este compus dintr-un inel de etanșare PTFE umplut și un inel O. Are protecție bidirecțională împotriva prafului și funcții de compensare automată a uzurii, frecare scăzută, durată lungă de viață și adaptabilitate puternică și este utilizat pe scară largă în diferite scenarii de mișcare industrială, cum ar fi alternativă, balansare și spirală.

Performanță și aplicații

Garnitura de ștergător combinată cu două buze este o garnitură de ștergător bidirecțională constând dintr-un inel de ștergător cu două buze umplut cu PTFE și un inel O. Inelul O asigură preîncărcare, compensând uzura inelului PTFE. Este potrivit pentru mișcări alternative, oscilante sau spirale.


Condiții de funcționare

Presiune Mpa

Temperatura °C

Viteza m/s

Mediu

-

-35~+100 (inel O NBR potrivit)

6

Ulei hidraulic, emulsie, apă etc.

-20~+200 (inel O FKM potrivit)


Exemplu de comanda

Comandați Modelul RCF02-80-PTFE3-R01

RCF02 - Model 80 - Diametrul arborelui PTFE3 - PTFE modificat pentru uz general RO1 - Cod material cauciuc potrivit

Nitril (NBR) - R01, Fluorocarbon (FKM) - RO2

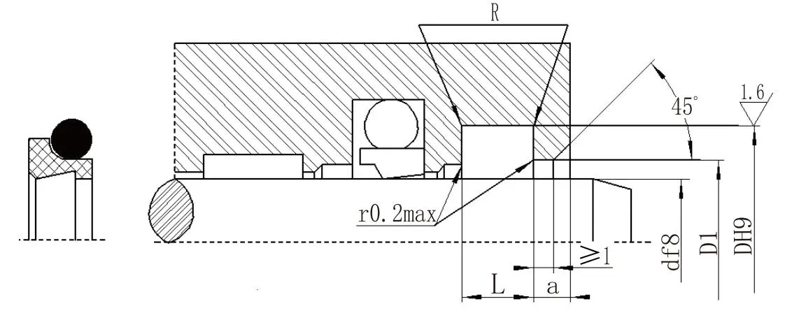
Tabel cu parametrii specificațiilor (pot fi furnizate produse de orice dimensiune din intervalul de parametri)

Gama de diametre a arborelui d f8

Diametrul canelurii D H9

Lățimea canelurii L+0.2

Diametrul orificiului deschis

D1H11

Lățimea găurii deschise a≥

Colțuri rotunjite R≤

Diametrul firului O-ring

d0

4~11

d+4,8

3.7

d+1,5

2

0.4

1.80

12~64

d+6,8

5.0

d+1,5

2

0.7

2.65

65~250

d+8,8

6.0

d+1,5

3

1.0

3.55

251~420

d+12,2

8.4

d+2,0

4

1.5

5.30

421~650

d+16,0

11.0

d+2,0

4

1.5

7.00

651~1500

d+20,0

14.0

d+2,5

5

2.0

8.60


Hot Tags: Inel ștergător
Trimite o anchetă
Informatii de contact
Obțineți prețuri competitive, asistență tehnică și răspunsuri rapide. Trimiteți -vă specificațiile către Ruichen pentru soluții de etanșare personalizate. Eșantioane gratuite disponibile.
X
We use cookies to offer you a better browsing experience, analyze site traffic and personalize content. By using this site, you agree to our use of cookies. Privacy Policy
Reject Accept