Qingdao Ruichen Sealing Technology Co., Ltd.
Qingdao Ruichen Sealing Technology Co., Ltd.
Ştiri

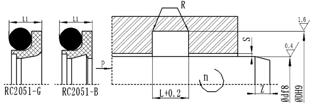
RC2051-B/G GEAR COMBINATION SEAL pentru ax rotativ

2025-03-08 0 Lasă-mi un mesaj

Acest sigiliu este compus dintr -un inel de etanșare dinți umplut cuMaterial PTFEși unInel de cauciuc cu inel O., potrivit pentru etanșarea unidirecțională a mișcării reciproce și rotative hidraulice și pneumatice. Are caracteristicile vieții ridicate, frecare scăzută, etanșare bună, spațiu structural mic și poate fi utilizat pentru etanșarea presiunii apei. Este împărțit în RC2051-B (tip standard) și RC2051-G (tip de mare viteză). Proiectarea specială a buzelor RC2051 are un efect de etanșare bun și o rezistență extrem de scăzută de frecare chiar și pentru reciprocitatea pneumatică sauGarnituri rotative.

Selectarea materialelor

1. Materialul cu inel O care se potrivește poate fi selectat: cauciuc nitril R01 (NBR), R02 Fluororubber (FKM), etc.

2. Materialul inelului de etanșare: material standard PTFE4, alte materiale opționale PTFE1, PTFE2, PTFE3, PTFE5.


Diagrama structurală



Știri similare
Lasă-mi un mesaj
X
Folosim cookie-uri pentru a vă oferi o experiență de navigare mai bună, pentru a analiza traficul site-ului și pentru a personaliza conținutul. Prin utilizarea acestui site, sunteți de acord cu utilizarea cookie-urilor. Politica de confidențialitate
Respinge Accepta