O-inele sunt cele mai populare garnituri utilizate în componente hidraulice, pneumatice și dispozitive de sistem și sunt utilizate pe scară largă în diferite ocazii de etanșare.
O inele O pot fi utilizate ca elemente de etanșare, precum și elemente de aplicare a forței pentru garnituri de alunecare hidraulică și inele de praf. În conformitate cu temperaturi specificate, presiuni și diferite medii lichide și gaze, aceste produse pot acționa ca sigilii într -o stare statică sau în mișcare. Se poate spune că în domeniul industrial, fie că este vorba de un singur sigiliu pentru reparații și întreținere, fie în aplicații precum aerospațial, industria auto și industria generală, inelele O sunt aproape peste tot.
Caracteristici și aplicații ale produsului:
O-inele au multe avantaje:
(1) Potrivit pentru o varietate de forme de etanșare, inclusiv etanșare statică și etanșare dinamică.
(2) Potrivit pentru o varietate de moduri de mișcare, cum ar fi mișcarea de rotație, mișcarea reciprocă axială sau mișcarea combinată.
(3) Potrivit pentru o varietate de medii de etanșare diferite, inclusiv petrol, apă, gaze, medii chimice sau alte medii mixte;
(4) Structura în secțiune transversală este extrem de simplă și are un efect de etanșare, performanță fiabilă de etanșare, structură compactă și asamblare ușoară și demontare;
(5) Există multe tipuri de materiale;
(6) cost redus;
(7) Rezistența dinamică de frecare este relativ mică.
Lista standardelor de inele O este prezentată în tabelul de mai jos:
| Tabelul 1-1 Lista standardelor de inel O | |||||||
| Standard | Diametru în secțiune transversală D2 |
![]() |
|||||
| Standard american ca 568 British Standard BS 1516 |
1.7 8 |
2.62 | 3.53 | 5.33 | 6.99 | - | |
| Standard japonez JIS B 2401 | 1.9 | 2.4 | 3.1 | 3.5 | 5.7 | 8.4 | |
| Standard internațional IS0 3601/1 Standard german DIN 3771/1 Standard chinezesc GB 3452.1 | 1.8 | 2.65 | 3.55 | 5.30 | 7.00 | - | |
| Standard chinezesc GB1235 | 1.9 | 2.4 | 3.1 | 3.5 | 5.7 | 8.6 | |
| Dimensiuni metrice preferate | 1.0 | 1.5 | 2.0 | 2.5 | 3.0 | 3.5 | |
| 4.0 | 4.5 | 5.0 | 5.5 | 6.0 | 7.0 | ||
| 8.0 | 10.0 | 12.0 | - | - | - | ||
| Standard american ca 568 (Seria 900) |
1.0 2 |
1.42 | 1.63 | 1.83 | 1.98 | 2.08 | |
|
2.2 1 |
2.46 | 2.95 | 3.00 | - | - | ||
Mecanism de sigilare
O-inelul O este un element automat de etanșare în două sensuri. În timpul instalării, pre-compresia sa radială și axială determină capacitatea inițială de etanșare a inelului O în sine, care crește odată cu creșterea presiunii sistemului.
(1) Stare necomprimată
(2) Stare comprimată fără presiune
(3) Presiune
Parametri de performanță
Tabelul 1-2 Parametri de performanță a inelului O
| Standard | Sigiliu static | Sigiliu dinamic |
| Presiunea de lucru | Fără a reține inelul, maximul poate ajunge la 20MPa; Cu inelul de reținere, maximul poate atinge 40MPa: Cu un inel special de reținere, maximul poate ajunge la 200MPA | Fără a reține inelul, presiunea maximă poate atinge 5MPa; cu inelul de reținere, presiune mai mare |
| Viteză | Reciproc 0,5m/s maxim, rotativ 2m/s maxim | |
| Temperatură | Ocazii generale: -30 ~+110, ocazii speciale: -60 ~+250, ocazii rotative: -30 ~+80 | |
| Mediu | Vezi (tabelul proprietăților materialului) | |
Selecția O-Ring
1.. Condiții de lucru de lucru și de muncă
Atunci când selectați materialul cu inel O, trebuie, de asemenea, luate în considerare compatibilitatea cu mediul de lucru, iar condițiile de lucru, cum ar fi presiunea, temperatura, timpul de lucru continuu și ciclul de funcționare al părții de etanșare. Dacă este utilizată într -o situație rotativă, trebuie luată în considerare creșterea temperaturii cauzată de căldura de frecare. Diferite materiale de etanșare au proprietăți fizice și chimice diferite, vă rugăm să consultați „Tabelul Proprietăților Materialelor” pentru detalii.
2.. Tipul de etanșare și dimensiunea canelurii de instalare
(1) Conform formei de etanșare, acesta poate fi împărțit în: etanșare statică (sigiliu fără mișcare relativă între suprafețele adiacente) și sigiliul dinamic (sigiliu cu mișcare reciprocă între părțile sigilate);
(2) în funcție de scopul de etanșare, acesta poate fi împărțit în: etanșare a găurilor, etanșare a arborelui și etanșare rotativă;
(3) Conform formularului de instalare, acesta poate fi împărțit în: instalarea axială (secțiunea sa transversală este deformată axial după instalare) și instalarea radială (secțiunea sa transversală este deformată radial după instalare).
① Sigiliu static
Presiunea internă: diametrul exterior al inelului O și diametrul exterior al canelurii D trebuie să fie practic apropiat sau mai mare de 1 ~ 3%.
Presiune externă: diametrul interior al inelului O trebuie să fie aproape de sau puțin mai mic decât diametrul interior D al canelurii, dar nu mai puțin de 6%.
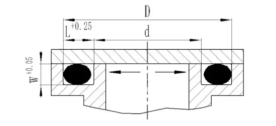
Tabelul 1-3 Dimensiuni de instalare a garniturii statice axiale
| Diametru de sârmă cu inel O D2 | Adâncimea canelurii W+0,05 | Lățimea canelurii L+0,25 | Diametru de sârmă cu inel O D2 | Adâncimea canelurii W+0,05 | Lățimea canelurii L+0,25 | Diametru de sârmă cu inel O D2 | Adâncimea canelurii W+0,05 | Lățimea canelurii L+0,25 |
| 1 | 0.7 | 1.4 | 2.7 | 2.1 | 3.8 | 5.7 | 4.6 | 7.6 |
| 1.2 | 0.9 | 1.6 | 2.8 | 2.1 | 4 | 6 | 4.8 | 8.1 |
| 1.25 | 0.9 | 1.7 | 3 | 2.3 | 4.1 | 6.5 | 5.3 | 8.6 |
| 1.3 | 1 | 1.7 | 3.1 | 2.4 | 4.2 | 6.99 | 5.7 | 9.7 |
| 1.5 | 1.1 | 2.1 | 3.5 | 2.7 | 4.8 | 7 | 5.7 | 9.7 |
| 1.6 | 1.2 | 2.2 | 3.53 | 2.7 | 4.9 | 7.5 | 6.2 | 10.1 |
| 1.78 | 1.3 | 2.5 | 3.55 | 2.7 | 5 | 8 | 6.6 | 10.7 |
| 1.8 | 1.3 | 2.6 | 3.6 | 2.8 | 5.1 | 8.4 | 7.1 | 11.1 |
| 1.9 | 1.4 | 2.7 | 3.7 | 2.9 | 5.2 | 8.5 | 7.2 | 11.3 |
| 2 | 1.5 | 2.8 | 4 | 3.1 | 5.5 | 9 | 7.6 | 12 |
| 2.2 | 1.6 | 3.1 | 4.3 | 3.3 | 5.9 | 9.5 | 8.1 | 12.5 |
| 2.4 | 1.8 | 3.3 | 4.5 | 3.5 | 6.1 | 10 | 8.5 | 13.6 |
| 2.5 | 1.9 | 3.5 | 5 | 4 | 6.7 | 10.5 | 8.9 | 14 |
| 2.6 | 2 | 3.6 | 5.3 | 4.2 | 7.2 | 11 | 9.4 | 14.7 |
| 2.62 | 2 | 3.7 | 5.33 | 4.2 | 7.3 | 12 | 10.4 | 15.7 |
| 2.65 | 2 | 3.8 | 5.5 | 4.5 | 7.4 | 15 | 13.2 | 19.4 |
② Sigiliu static
Garnitura de gaură radială: canelura de instalare este pe arbore, iar diametrul interior al inelului O este egal sau puțin mai mic decât diametrul inferior al canelurii d.
Garnitura arborelui radial: canelura de instalare este în gaură, iar diametrul interior al inelului O și diametrul arborelui sigilat este cât mai aproape posibil.
| Tabelul 1-4 Dimensiuni ale canelurii de instalare a sigiliului static radial | |||||||||||
| Diametrul sârmei cu inel O. D2 | Adâncimea canelurii W+0,05 | Lățimea canelurii L ± 0,25 | C | Diametrul sârmei cu inel O. D2 | Adâncimea canelurii W+0,05 | Lățimea canelurii L ± 0,25 | C | Diametrul sârmei cu inel O. D2 | Adâncimea canelurii W+0,05 | Lățimea canelurii L ± 0,25 | C |
| 1 | 0.75 | 1.3 | 1.2 | 2.7 | 2.1 | 3.6 | 2 | 5.7 | 4.6 | 7.6 | 3.5 |
| 1.2 | 0.9 | 1.6 | 1.2 | 2.8 | 2.2 | 3.7 | 2 | 6 | 4.9 | 7.9 | 3.5 |
| 1.25 | 0.9 | 1.7 | 1.2 | 3 | 2.3 | 3.9 | 2.5 | 6.5 | 5.4 | 8.4 | 4 |
| 1.3 | 1 | 1.7 | 1.2 | 3.1 | 2.4 | 4 | 2.5 | 6.99 | 5.8 | 9.2 | 4 |
| 1.5 | 1.1 | 2 | 1.5 | 3.5 | 2.7 | 4.6 | 2.5 | 7 | 5.8 | 9.3 | 4 |
| 1.6 | 1.2 | 2.1 | 1.5 | 3.53 | 2.7 | 4.7 | 2.5 | 7.5 | 6.3 | 9.8 | 4 |
| 1.78 | 1.3 | 2.4 | 1.5 | 3.55 | 2.8 | 4.7 | 2.5 | 8 | 6.7 | 10.5 | 4 |
| 1.8 | 1.3 | 2.4 | 1.5 | 3.6 | 2.8 | 4.8 | 2.5 | 8.4 | 7.1 | 10.9 | 4.5 |
| 1.9 | 1.4 | 2.5 | 1.5 | 3.7 | 2.9 | 4.9 | 2.5 | 8.5 | 7.2 | 11 | 4.5 |
| 2 | 1.5 | 2.6 | 2 | 4 | 3.2 | 5.2 | 3 | 9 | 7.7 | 11.7 | 4.5 |
| 2.2 | 1.7 | 3 | 2 | 4.3 | 3.4 | 5.6 | 3 | 9.5 | 8.2 | 12.3 | 4.5 |
| 2.4 | 1.8 | 3.2 | 2 | 4.5 | 3.6 | 5.8 | 3 | 10 | 8.6 | 13 | 5 |
| 2.5 | 1.9 | 3.3 | 2 | 5 | 4 | 6.5 | 3 | 10.5 | 9 | 13.8 | 5 |
| 2.6 | 2 | 3.4 | 2 | 5.3 | 4.3 | 7 | 3 | 11 | 9.5 | 14.3 | 5 |
| 2.62 | 2 | 3.5 | 2 | 5.33 | 4.3 | 7.1 | 3.5 | 12 | 10.5 | 15.6 | 5 |
| 2.65 | 2 | 3.6 | 2 | 5.5 | 4.5 | 7.2 | 3.5 | 15 | 13.2 | 19.2 | 5 |
③ Sigiliu de vacuum (sigiliu static)
Ambalajul în vid este un sigiliu cu inel O în circumstanțe speciale, iar presiunea sistemului sigilat este mai mică de 1 atmosferă standard (101.325kpa).
Cerințele sale de aplicare și de instalare a canelurii sunt următoarele:
o. Spațiul de canelură de instalare este aproape 100% umplut cu volumul inelului O după deformare, ceea ce poate crește zona de contact și poate prelungi timpul de difuzie prin elastomer.
b. Deformarea de compresie a secțiunii transversale a inelului O este de aproximativ 30%.
C. Trebuie utilizat grăsimea de vid (pentru a reduce scurgerile).
D. Rugozitatea suprafeței fiecărei suprafețe a canelurii de instalare ar trebui să fie considerată mai mare decât cerințele garniturilor statice hidraulice, iar procentul intervalului de contact FTP ar trebui să fie mai mare de 50%.
e. O inel O trebuie fabricată din materiale compatibile cu gaz, permeabilitate scăzută și deformare scăzută a compresiei. Aici, vă recomandăm utilizarea fluororubberului.
④ Sigilare dinamică hidraulică
Deoarece inelul O va fi deplasat în timpul mișcării, aplicarea sa este limitată la presiunea mai mică (fără a reține inelul) și viteza (mișcare reciprocă = 0,5m/s; mișcare rotativă = 2,0m/s).
3. Factorul de duritate
Duritatea materialului cu inel O este unul dintre indicatorii importanți pentru evaluarea performanței de etanșare. Duritatea inelului O determină compresia inelului O și diferența maximă de extrudare admisă a canelurii. În general, este prevăzut cauciucul nitril din Shore A70, care poate satisface majoritatea condițiilor de utilizare.
4. Decrudion Gap
Gapul maxim de extrudare admisibil G Max este legat de presiunea sistemului, diametrul în secțiune transversală a inelului O și duritatea materialului. În general, cu cât este mai mare presiunea de lucru, cu atât este mai mică, cu atât este mai mică diferența maximă de extrudare G max. Dacă golul G depășește intervalul admisibil, acesta va determina extrudarea sau chiar deteriorarea inelului O.
Se recomandă utilizarea unui inel de reținere în garnituri dinamice radiale, ceea ce poate împiedica să se strecoare inelul O în decalajul radial și, de asemenea, să crească presiunea de lucru. Când presiunea depășește 5MPa și diametrul interior este> 50mm, iar presiunea este mai mare de 10MPa, iar diametrul interior este <50mm, se recomandă utilizarea unui inel de reținere.
Pentru aplicații de etanșare statică, este recomandat să se potrivească H7/G6.
5. Ratele de tracțiune și de compresie
Când inelul O este instalat în canelură, acesta va fi întins și comprimat într-o anumită măsură. Dacă valorile de întindere și compresie sunt prea mari, secțiunea transversală a inelului O va fi excesiv mărită sau redusă. Pentru a nu -i afecta efectul de etanșare, se recomandă să urmeze cu strictețe următoarele două puncte:
(1) Pentru etanșarea găurilor radiale: inelul O este de preferință într-o stare întinsă (adică d> d2), iar rata maximă de întindere admisă este de 6%, deoarece o întindere de 1%va reduce în mod corespunzător diametrul în secțiune transversală cu 0,5%.
Alungire = (d-2/d2) × 100% < 6%
În ecuație: D-diametrul inferior al canelurii de montare în garnitura de gaură radială
D2-diametrul interior al inelului O
(2) Pentru garniturile arborelui radial, inelul O este de preferință comprimat de-a lungul circumferinței sale (adică D1> D), iar rata maximă de compresie a circumferinței admisă este de 3%.
Raport de compresie = (D1-D)/D1 × 100% < 3%
În ecuație: diametrul d1-out al inelului O
Diametrul D-Bottom al canelurii de montare în etanșare a arborelui radial
6. O-inele sunt utilizate ca garnituri de arbore rotative
O inele O pot fi, de asemenea, utilizate ca etanșare pentru rotație cu viteză mică și arbori rotativi cu ciclu scurt. Când viteza circumferențială este mai mică de 0,5 m/s, selecția inelului O se poate baza pe standardele normale de proiectare; Atunci când viteza circumferențială este mai mare de 0,5 m/s, este necesar să se ia în considerare fenomenul potrivit căruia inelul de cauciuc alungit se va micșora după ce a fost încălzit (fenomenul de căldură Joule), astfel încât diametrul interior al inelului de etanșare este selectat pentru a fi cu aproximativ 2% mai mare decât diametrul arborelui sigilat, iar fenomenul de mai sus poate fi evitat. După ce inelul O este instalat în canelură, este comprimat radial pentru a forma o ondulare fină, îmbunătățind astfel condițiile de ungere.
7. Forța de compresie a instalării
În timpul instalării, forța de compresie este legată de gradul de compresie inițială și de duritatea materialului. Figura arată relația dintre forța de compresie a unității și diametrul în secțiune transversală la centimetru al circumferinței de etanșare, care este utilizat pentru a estima dimensiunea forței de compresie la instalarea inelului O.
Proiectarea structurii locale
Deoarece inelul O va fi stoarsă în timpul instalării, pentru a evita daunele grave, capătul găurii sau capătul arborelui trebuie procesat într-un șamfer de 15 ° ~ 20 °, iar marginile trebuie să fie rotunjite și să se îndepărteze. Dacă inelul O trebuie să treacă printr-o gaură transversală în timpul instalării, gaura de tranziție trebuie să fie, de asemenea, ticălos sau rotunjită.
Chamfer găuri
Chamfer arbore
Chamfering/rotunjirea găurilor de tranziție
Tabelul 1-10 CMIN Lungime minimă a șamponului
| Diametrul secțiunii w | ≤1.78, 1,80 | ≤2.62, 2,65 | ≤3.53, 3,55 | ≤5.30, 5.33 | ≤7.00 | > 8.40 | |
| Lungimea minimă a șamponului cmin | 15 ° | 2.5 | 3.0 | 3.5 | 4.0 | 5.0 | 6.0 |
|
|
20 ° | 2.0 | 2.5 | 3.0 | 3.5 | 4.0 | 4.5 |
RUGHINȚĂ DE SUPRAFERE CHAMFER: RZ≤4.0 μM RA≤0,8 μm
Abaterile admise ale formei și ale defectelor de suprafață
Clasificăm formele și defectele de suprafață ale inelelor O în două categorii: N și S.
(1) N: reprezintă calitatea noastră standard, care poate satisface pe deplin cerințele de înaltă calitate și aplicațiile zilnice.
(2) S: Potrivit pentru ocazii cu cerințe foarte mari pentru defecte de formă și de suprafață, care necesită de obicei o producție mare și costuri ridicate.
Aliniere necorespunzătoare d
Mucegaiul de divizare a lui h
Contracție de divizare a matriței
Tunderea excesivă
Semne de flux
Alte defecte
| Tabelul 1-8 Forma inelului O și defectele de suprafață | ||||
| Defecte | Categorie | Abaterea admisibilă a secțiunii W | ||
| ≤2.65 | > 2.65 | |||
| Modul de eroare | Lățimea h | N | 0.06 | 0.12 |
| Suma flash | Lățimea h | S | 0.05 | 0.09 |
| Dezvoltare de despărțire | Lățimea h | N | 0,1 · w | 0,1 · w |
| Lățimea h | 0.05 | 0.09 | ||
| Lățimea h | S | 0,05 · w | 0,05 · w | |
| Lățimea h | 0.05 | 0.09 | ||
| Lățimea excesivă de tundere (este permisă excesul de tundere, dar trebuie să fie în intervalul de abatere al secțiunii transversale, iar suprafața trebuie menținută netedă) | Lățimea h | N | 0.4 | 1.2 |
| Lățimea h | S | 0.4 | 0.7 | |
| Mărci de flux (direcție circumferențială) | Grosime a | N | 0,1 · ID | 0,1 · ID |
| Adâncime f | 0.03 | 0.06 | ||
| Grosime a | S | 0,05 · ID | 0,05 · ID | |
| Adâncime f | 0.03 | 0.06 | ||
| Alte defecte | Grosime a | N | 0,3 · w | 0,3 · w |
| Adâncime f | 0.05 | 0.09 | ||
| Grosime a | S | 0,1 · w | 0,1 · w | |
| Adâncime f | 0.03 | 0.06 | ||
| Rugozitate de suprafață | μm | N | 10 | 16 |
| μm | S | 5 | 6 | |
| Zgomot | / | N | Permite | |
| / | S | Permite | ||
Ghid de stocare
Pentru a evita proprietățile fizice și chimice ale inelelor O cauzate de depozitarea pe termen lung, este necesar un mediu de stocare rezonabil pentru a se asigura că inelele O nu sunt afectate în timpul depozitării pe termen lung.
În timpul depozitării, trebuie observate următoarele puncte:
(1) Mediul de depozitare trebuie să fie uscat, fără praf și bine ventilat;
(2) temperatura trebuie să depășească +15 ℃, dar să nu depășească +20 ℃;
(3) depozitați în pungi de ambalare scobite cât mai mult posibil și evitați ingredientele care deteriorează materialul inelului O;
(4) Evitați lumina directă a soarelui în mediul de depozitare și țineți -vă departe de surse de lumină ultraviolete;
(5) La stocare, O-inele ar trebui să fie într-o stare fără stres, adică nu este întinsă, nu comprimată și nu sunt deformate:
(6) Este interzis să se lege cu șir sau să atârne de piese metalice.







Abordare
No.1 Ruichen Road, Dongliuting Industrial Park, Chengyang District, Qingdao City, Shandong Province, China
Tel