Inelul de reținere este utilizat în combinație cu inelul O sau inelul stelar pentru a preveni strecurarea inelului de etanșare în golul de pe partea de joasă presiune sub acțiunea presiunii. Pe măsură ce presiunea continuă să crească, inelul de etanșare este deteriorat de „extrudare” și, în cele din urmă, nu reușește să sigileze. Dacă se folosește un inel de reținere, „extrudarea” inelului de etanșare poate fi prevenită. Prin urmare, inelul de reținere este un supliment la inelul de etanșare. Nu este un sigiliu în sine, dar crește gama de presiune de lucru a inelului de etanșare.
Inelul de reținere este utilizat în combinație cu inelul O pentru a preveni „extrudarea”, protejează eficient inelul O, crește durata de viață a serviciului și permite un decalaj mai mare de etanșare, reducând astfel costurile de procesare.
Caracteristici și aplicații ale produsului:
Forma inelului de reținere și tipul de structură
Date tehnice
Presiunea de lucru: sigiliul static poate ajunge la aproximativ 200MPa (în funcție de materialul și tipul de etanșare al inelului de reținere), sigiliul reciproc poate ajunge la aproximativ 40MPa. Rotația de balansare/viteză lentă poate ajunge la aproximativ 15MPa.
Viteză: reciprocă și rotație pot ajunge la aproximativ 2m/s (în funcție de material).
Standarde de comandă
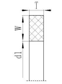
(1) Inelele de reținere din seria T01 sunt compuse din diametrul interior D1, lățimea W și grosimea T.
Exemplu: T01-00356 D1: 3.56*W: 1.35*T: 1.23
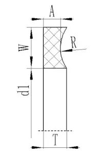
(2) Inelele de reținere din seria T02 sunt compuse din diametrul interior D1, lățimea W și grosimea A și T.
Exemplu: T02-027 D1: 33.78*W: 1.35*A: 1.14*T: 1.24



Abordare
No.1 Ruichen Road, Dongliuting Industrial Park, Chengyang District, Qingdao City, Shandong Province, China
Tel