|
Presiune/MPa |
Temperatura / °C |
Viteza /m/s |
Mediu |
|
≤40 |
-35~+100 (cu inele O NBR potrivite) |
≤2 |
Ulei hidraulic, emulsie, apă, gaz etc. |
-20~+200 (cu inele O FKM potrivite) |
1. Materialele adecvate pentru inele O includ: cauciuc nitril butadien R01 (NBR), cauciuc fluor R02 (FKM) etc.
2. Materiale inele de etanșare: Materiale standard PTFE3 și PTFE4; alte materiale opționale includ PTFE1, PTFE2 și PTFE5.
Ruichen a desfășurat cercetare, dezvoltare și producție independentă de la începutul materiilor prime, realizând controlul întregului lanț de produse.
1. Materiale plastice de inginerie și materiale compozite: luăm politetrafluoretilenă (PTFE) ca miez, de la amestecare, sinterizare până la turnare, producție independentă a tuturor tipurilor de tuburi și tije de materiale compozite modificate umplute și apoi prelucrarea de precizie în etanșări. Acest lucru asigură stabilitatea și personalizarea proprietăților materialului.
2. Elastomer poliuretanic de înaltă performanță: Pornim de la turnarea prepolimerului, producem independent materiale pentru țevi și tije din poliuretan de înaltă calitate și le procesăm în diferite tipuri de etanșări, care sunt remarcabile în rezistență la uzură, rezistență la presiune și rezistență la hidroliză.
Exemplu de comandă
Model de comandă RC2054—80×69×4,2—PTFE3—R01 Model-D*d*L- Cod material Comandă Model RCX18—80×69x4,2—HPU Model-D*d*L- Cod material
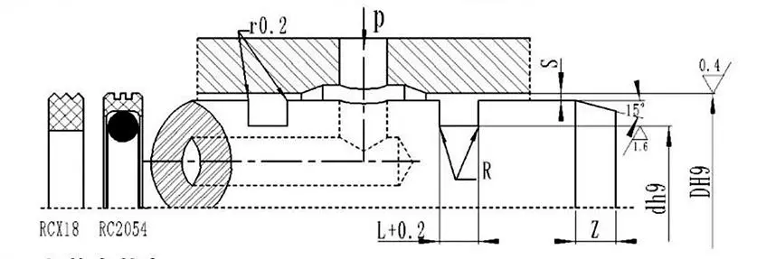
Specificații și tabel de parametri (orice specificație din intervalul de parametri este disponibilă)
|
Interval de deschidere DH9 |
Diametrul șanțului dh9 |
Lățimea șanțului L+0,2 |
Joc radial Smax |
Colțuri rotunjite Rmax |
Teşitură Zmin |
|
|
0~10Mpa |
10~20Mpa |
|||||
|
8~39 |
D-4.9 |
2.2 |
0.15 |
0.1 |
0.4 |
2 |
|
40~79 |
D-7.5 |
3.2 |
0.2 |
0.15 |
0.6 |
3 |
|
80~132 |
D-11,0 |
4.2 |
0.25 |
0.2 |
1.0 |
4 |
|
133~329 |
D-15.5 |
6.3 |
0.3 |
0.25 |
1.3 |
5 |
|
330~669 |
D-21,0 |
8.1 |
0.3 |
0.25 |
1.8 |
7 |
|
670~1500 |
D-28,0 |
9.5 |
0.45 |
0.3 |
2.0 |
8 |
|
D |
d |
L |
D |
d |
L |
D |
d |
L |
D |
d |
L |
|
8 |
3.1 |
2.2 |
50 |
42.5 |
3.2 |
170 |
154.5 |
6.3 |
380 |
359.0 |
8.1 |
|
10 |
5.1 |
2.2 |
55 |
47.5 |
3.2 |
180 |
164.5 |
6.3 |
390 |
369.0 |
8.1 |
|
12 |
7.1 |
2.2 |
60 |
52.5 |
3.2 |
190 |
174.5 |
6.3 |
400 |
379.0 |
8.1 |
|
14 |
9.1 |
2.2 |
63 |
55.5 |
3.2 |
200 |
184.5 |
6.3 |
420 |
399.0 |
8.1 |
|
15 |
10.1 |
2.2 |
65 |
57.5 |
3.2 |
210 |
194.5 |
6.3 |
450 |
429.0 |
8.1 |
|
16 |
11.1 |
2.2 |
70 |
62.5 |
3.2 |
220 |
204.5 |
6.3 |
480 |
459.0 |
8.1 |
|
18 |
13.1 |
2.2 |
75 |
67.5 |
3.2 |
230 |
214.5 |
6.3 |
500 |
479.0 |
8.1 |
|
20 |
15.1 |
2.2 |
80 |
69.0 |
4.2 |
240 |
224.5 |
6.3 |
520 |
499.0 |
8.1 |
|
22 |
17.1 |
2.2 |
85 |
74.0 |
4.2 |
250 |
234.5 |
6.3 |
550 |
529.0 |
8.1 |
|
24 |
19.1 |
2.2 |
90 |
79.0 |
4.2 |
260 |
244.5 |
6.3 |
600 |
579.0 |
8.1 |
|
25 |
20.1 |
2.2 |
95 |
84.0 |
4.2 |
270 |
254.5 |
6.3 |
630 |
609.0 |
8.1 |
|
28 |
23.1 |
2.2 |
100 |
89.0 |
4.2 |
280 |
264.5 |
6.3 |
650 |
629.0 |
8.1 |
|
30 |
25.1 |
2.2 |
105 |
94.0 |
4.2 |
290 |
274.5 |
6.3 |
670 |
642.0 |
9.5 |
|
32 |
27.1 |
2.2 |
110 |
99.0 |
4.2 |
300 |
284.5 |
6.3 |
700 |
672.0 |
9.5 |
|
35 |
30.1 |
2.2 |
115 |
104.0 |
4.2 |
310 |
294.5 |
6.3 |
750 |
722.0 |
9.5 |
|
36 |
31.1 |
2.2 |
120 |
109.0 |
4.2 |
320 |
304.5 |
6.3 |
800 |
772.0 |
9.5 |
|
38 |
33.1 |
2.2 |
125 |
114.0 |
4.2 |
330 |
309.0 |
8.1 |
1000 |
972.0 |
9.5 |
|
40 |
32.5 |
3.2 |
130 |
119.0 |
4.2 |
340 |
319.0 |
8.1 |
|
|
|
|
42 |
34.5 |
3.2 |
140 |
124.5 |
6.3 |
350 |
329.0 |
8.1 |
|
|
|
|
45 |
37.5 |
3.2 |
150 |
134.5 |
6.3 |
360 |
339.0 |
8.1 |
|
|
|
|
48 |
40.5 |
3.2 |
160 |
144.5 |
6.3 |
370 |
349.0 |
8.1 |
|
|
|
Notă: specificațiile necesare nu sunt enumerate aici; vă rugăm să contactați compania noastră. Oferim produse cu un diametru maxim de 2800mm.



Abordare
No.1 Ruichen Road, Dongliuting Industrial Park, Chengyang District, Qingdao City, Shandong Province, China
Tel