|
Presiune/MPa |
Temperatura / °C |
Viteza /m/s |
Mediu |
|
≤40 |
-35~+100 (cu inel O NBR) |
≤2 |
Ulei hidraulic, emulsie, apă, gaz etc. |
|
-20~+200 (cu inel O FKM) |
1. Materiale disponibile pentru inele O: cauciuc nitril butadien R01 (NBR), cauciuc fluor R02 (FKM), etc.
2. Materiale inele de etanșare: Materiale standard PTFE3 și PTFE4; alte materiale opționale includ PTFE1, PTFE2 și PTFE5.
Exemplu de comandă
Model de comandă RC2052—80x91×4,2—PTFE3—R01 Model-dxDxL- Cod material
Modelul de comandă RCX17—80x91×4.2—Model HPU-dxDxL- Cod material
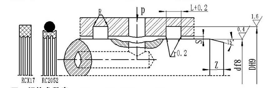
Specificații și tabel de parametri (orice specificație din intervalul de parametri este disponibilă)
|
Gama de diametre a arborelui d f8 |
Diametrul șanțului DH9 |
Lățimea șanțului L+⁰.2 |
Joc radial Smax |
Colțuri rotunjite Rmax |
Teşitură Zmin |
|
|
0~10Mpa |
10~20Mpa |
|||||
|
6~18 |
d+49 |
2.2 |
0.15 |
0.1 |
0.4 |
2 |
|
19~37 |
d+7,5 |
3.2 |
0.2 |
0.15 |
0.6 |
3 |
|
38~199 |
d+11,0 |
4.2 |
0.25 |
0.2 |
1.0 |
4 |
|
200~255 |
d+15,5 |
6.3 |
0.3 |
0.25 |
1.3 |
5 |
|
256~649 |
d+21,0 |
8.1 |
0.3 |
0.25 |
1.8 |
7 |
|
650~1500 |
d+28,0 |
9.5 |
0.45 |
0.3 |
2.0 |
8 |
Notă: Pentru diametrele arborelui ≤ 30 mm, sunt recomandate caneluri deschise.
|
d |
D |
L |
d |
D |
L |
d |
D |
L |
d |
D |
L |
|
8 |
12.9 |
2.2 |
48 |
59.0 |
4.2 |
150 |
161.0 |
4.2 |
350 |
371.0 |
8.1 |
|
10 |
14.9 |
2.2 |
50 |
61.0 |
4.2 |
160 |
171.0 |
4.2 |
360 |
381.0 |
8.1 |
|
12 |
16.9 |
2.2 |
55 |
66.0 |
4.2 |
170 |
181.0 |
4.2 |
370 |
391.0 |
8.1 |
|
14 |
18.9 |
2.2 |
60 |
71.0 |
4.2 |
180 |
191.0 |
4.2 |
380 |
401.0 |
8.1 |
|
15 |
19.9 |
2.2 |
63 |
74.0 |
4.2 |
190 |
201.0 |
4.2 |
390 |
411.0 |
8.1 |
|
16 |
20.9 |
2.2 |
65 |
76.0 |
4.2 |
200 |
215.5 |
6.3 |
400 |
421.0 |
8.1 |
|
18 |
22.9 |
2.2 |
70 |
81.0 |
4.2 |
210 |
225.5 |
6.3 |
420 |
441.0 |
8.1 |
|
20 |
27.5 |
3.2 |
75 |
86.0 |
4.2 |
220 |
235.5 |
6.3 |
450 |
471.0 |
8.1 |
|
22 |
29.5 |
3.2 |
80 |
91.0 |
4.2 |
230 |
245.5 |
6.3 |
480 |
501.0 |
8.1 |
|
24 |
31.5 |
3.2 |
85 |
96.0 |
4.2 |
240 |
255.5 |
6.3 |
500 |
521.0 |
8.1 |
|
25 |
32.5 |
3.2 |
90 |
101.0 |
4.2 |
250 |
265.5 |
6.3 |
520 |
541.0 |
8.1 |
|
28 |
35.5 |
3.2 |
95 |
106.0 |
4.2 |
260 |
281.0 |
8.1 |
550 |
571.0 |
8.1 |
|
30 |
37.5 |
3.2 |
100 |
111.0 |
4.2 |
270 |
291.0 |
8.1 |
600 |
621.0 |
8.1 |
|
32 |
39.5 |
3.2 |
105 |
116.0 |
4.2 |
280 |
301.0 |
8.1 |
630 |
651.0 |
8.1 |
|
35 |
42.5 |
3.2 |
110 |
121.0 |
4.2 |
290 |
311.0 |
8.1 |
650 |
678.0 |
8.1 |
|
36 |
43.5 |
3.2 |
115 |
126.0 |
4.2 |
300 |
321.0 |
8.1 |
670 |
698.0 |
9.5 |
|
38 |
49.0 |
4.2 |
120 |
131.0 |
4.2 |
310 |
331.0 |
8.1 |
700 |
728.0 |
9.5 |
|
40 |
51.0 |
4.2 |
125 |
136.0 |
4.2 |
320 |
341.0 |
8.1 |
750 |
778.0 |
9.5 |
|
42 |
53.0 |
4.2 |
130 |
141.0 |
4.2 |
330 |
351.0 |
8.1 |
800 |
828.0 |
9.5 |
|
45 |
56.0 |
4.2 |
140 |
151.0 |
4.2 |
340 |
361.0 |
8.1 |
1000 |
1028.0 |
9.5 |
Notă: specificațiile necesare nu sunt enumerate aici; vă rugăm să contactați compania noastră. Oferim produse cu un diametru maxim de 2800mm.





Instrucțiuni generale de instalare și utilizare
Rui Chen știe că instalarea corectă este prima condiție prealabilă pentru a asigura performanța deplină a etanșărilor, vă vom oferi, de asemenea, îndrumări cuprinzătoare cu privire la utilizarea fiecărui produs, în special a pieselor personalizate complexe sau non-standard, va exista un ghid de instalare grafic detaliat.
Aceste ghiduri sunt însoțite de diagrame pas cu pas de înaltă definiție și instrucțiuni text care arată clar punctele de inspecție înainte de instalare, pașii corecti de instalare, uneltele necesare și operațiunile greșite care trebuie evitate, ca și cum inginerii noștri ar fi la fața locului. În plus, pentru ansambluri sau sisteme complexe, creăm tutoriale video profesionale care permit operatorilor dumneavoastră să stăpânească intuitiv și rapid tehnicile și precauțiile de instalare prin demonstrații dinamice, reducând foarte mult riscul defecțiunii timpurii din cauza instalării necorespunzătoare.
Abordare
No.1 Ruichen Road, Dongliuting Industrial Park, Chengyang District, Qingdao City, Shandong Province, China
Tel